Find Your Part
Aston Martin GT DB9 (2004-2017) - Sat Nav, 09MY to 12MY
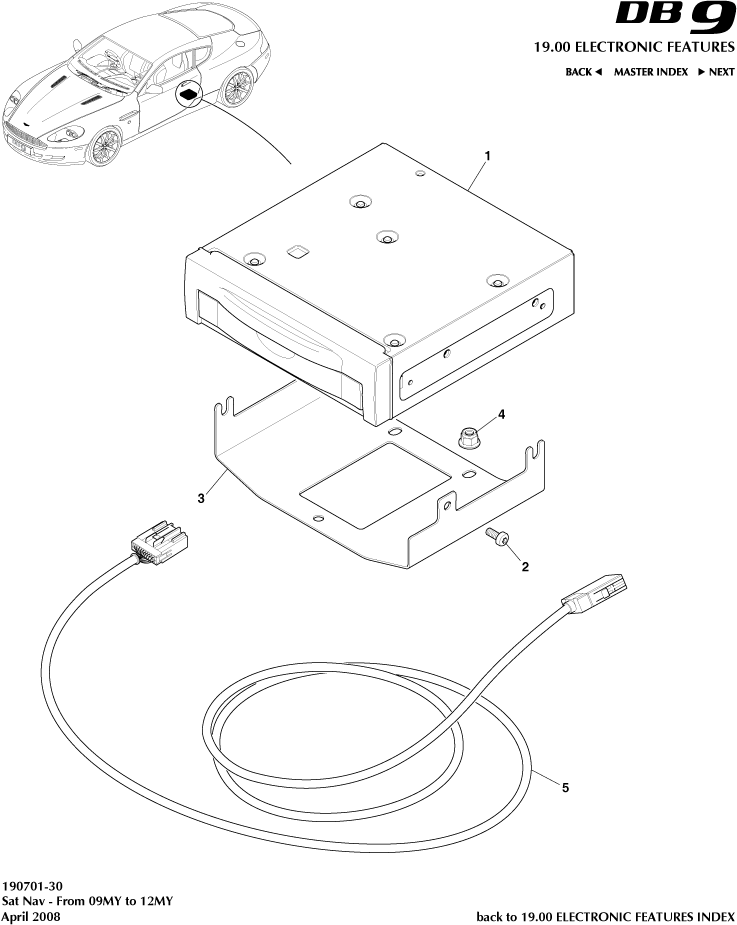
View the exploded parts diagram to find the part you are looking for:
- You can reposition the diagram by dragging it
- You can zoom in and out of the diagram by scrolling, pinching, or using the and buttons
- You can click on a hotspot 1 in the parts diagram to locate the part in the table
Please complete the form below, and we will get back to you as soon as possible.
Please wait...