Find Your Part
 
# Part Details Price
(each)
Qty on
Diagram
Add to
Cart
- CG4310E887BF
GVN54 UNIT NA
-
- 1 Enquire
- CG4310E887CF
GVN 54 UNIT
No Software, Without SD-Card
- 1 Enquire
- CG4310E887EF
GVN54 UNIT S/AM
-
- 1 Enquire
- CG4310E887FF
GVN54 UNIT CHINA
-
- 1 Enquire
- CG4310E887GF
GVN54 UNIT SE/AS
-
- 1 Enquire
- CG4310E887HF
GVN54 UNIT M/E
-
- 1 Enquire
- CG4310E887JF
GVN54 UNIT RUSSIA
-
- 1 Enquire
- CG4310E887KF
GVN54 UNIT S/A
-
- 1 Enquire
- CG4310E887LF
GVN54 UNIT JAPAN
-
- 1 Enquire
- CG4310E887MF
GVN54 UNIT TAIWAN
-
- 1 Enquire
- CG4310E887NF
GVN54 UNIT TURKEY
-
- 1 Enquire
- CG4310E887PF
GVN54 UNIT AU/NZ
-
- 1 Enquire
- CG4310E887RF
GVN54 UNTI INDIA
-
- 1 Enquire
- CG4310E898AJ
GVN54 MAP EUROPE
2018 mapping
- 1 Enquire
- CG4310E898BJ
GVN54 MAP N AMERICA
2018 mapping
- 1 Enquire
- CG4310E898CH
GV54 MAP
2017 mapping
- 1 Enquire
- CG4310E898DJ
GVN54 MAP
2018 mapping
- 1 Enquire
- CG4310E898EJ
GVN54 MAP
2018 mapping
- 1 Enquire
- CG4310E898FJ
GVN54 MAP
2018 mapping
- 1 Enquire
- CG4310E898GJ
GVN 54 MAP
2018 mapping
- 1 Enquire
- CG4310E898HJ
GVN54 MAP
2018 mapping
- 1 Enquire
- CG4310E898JJ
GVN54 MAP STH AFRICA
2018 mapping
- 1 Enquire
- CG4310E898KJ
GVN54 MAP
2018 mapping
- 1 Enquire
- CG4310E898LH
GVN 54 MAP
2017 mapping
- 1 Enquire
- CG4310E898MH
GVN54 MAP
2017 mapping
- 1 Enquire
- CG4310E898PH
GV54 MAP
2017 mapping
- 1 Enquire
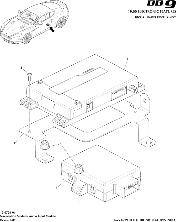
1 CG4310E887AF
GVN54 UNIT EU
-
- 1 Enquire
2 RY5320167BBW
DR TRM INNR ASY PLN1
-
- 1 Enquire
3 CG43505504S437
Screw, M3 x 10, Torx Pan Head
-
- 3 Enquire
4 CG4319A164AB
Module, Audio Input
-
- 1 Enquire
5 703164
M6 LOCKNUT FLANGE NY LON CHROM FREE
-
- 5 Enquire

Haven't found what you're looking for?

Original Parts Tuning Parts Need help? Call us