Find Your Part
 
# Part Details Price
(each)
Qty on
Diagram
Add to
Cart
- 673011576
SCREW
-
- 1 Enquire
- 4G43N623361AA
Clip, U Type, Emergency Handle
-
- 1 Enquire
- 703121
Screw, M8 x 25, Hex Flange Head
08MY
- 4 Enquire
- 703149
SCREW M6x16 PAN FLG TORX CHROME FRE
08MY
- 3 Enquire
- 703149
SCREW M6x16 PAN FLG TORX CHROME FRE
08MY
- 2 Enquire
- 1R123710452
SWITCH-BOOT LID RELEASE
FEDERAL
- 1 Enquire
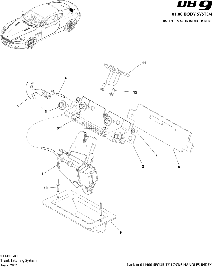
1 4G436710813
LATCH ASSY-BOOTLID
-
- 1 Enquire
2 4G43433A32AE
Reinforcement Latch Housing, Luggage Compartment Door
-
- 1 Enquire
3 703278
Screw, M6 x 10, Flange Hex Head
-
- 2 Enquire
4 NSS
 Seat Belt Loops Frt/ Rear and Left/Right
-
- 1 Enquire
5 1R126710146
EMERGENCY PULL TAG
-
- 1 Enquire
6 700123
SCREW M8x20 HEX FLG
07MY
- 4 Enquire
7 701454
SCREW M6x16 PAN FLG
07MY
- 3 Enquire
8 4G4332366AA
Gasket, Trunk Lock
-
- 1 Enquire
9 4G43432A30AB
Cover, Tailgate Latch
-
- 1 Enquire
10 701580
Rivet, Dome Head
07MY
- 2 Enquire
11 4G43404A42AC
STRIKER DECKLID
-
- 1 Enquire
12 701454
SCREW M6x16 PAN FLG
07MY
- 2 Enquire

Haven't found what you're looking for?

More: Aston Martin ECUs Tuning Parts Need help? Call us